Candellux G4 Deckenleuchte 2287603
2287603
Beschreibung
Quadratische Deckenleuchte aus Aluminium, ausgelegt für eine G4-Fassung.
Silberfarbe.
Parametry
Kolor podstawowy
srebrny
Klasa energetyczna
A++ - E
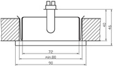
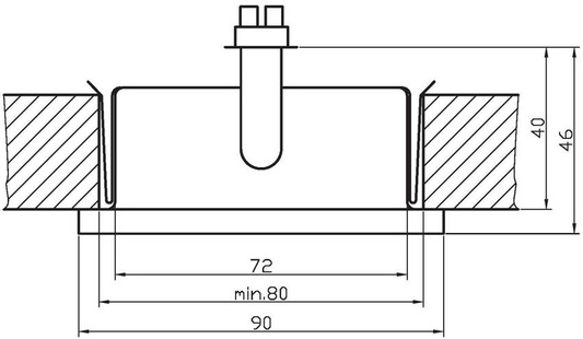
Wysokość (cm)
4
6
Średnica (cm)
9
Głębokość (cm)
25
Waga (kg.)
25
Wymiary opakowania
9x10x10
Kod producenta
2287603
Klasa efektywności energetycznej - stara klasyfikacja
A++
Kolor
srebrny
wielokolorowy
Rodzaj gwintu
G4
Rodzaj
sufitowe natynkowe
ścienno-wpuszczana
Marka
Candellux
Szerokość
9
Wysokość
4.6
Moc znamionowa
20
Informacje dodatkowe
wymienne źródło światła
Głębokość montażu
40
Średnica otworu montażowego
80
Informacja o producencie
Producent / Podmiot odpowiedzalny Candellux Lighting Sp. z o.o. ul. 1 Maja 132 05-200 Wołomin Polska Kontakt E-mail: [email protected] Telefon: +221010097
Materiał
Metal
szkło




