CANDELLUX OUTLET CEILING LUMINAIRE 2276504
2276504
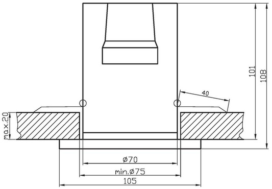
Parametry
Basic color
satin
Energy class
A++ - E
Height (cm)
10,5
Diameter (cm)
8,8
Depth (cm)
25
Weigh (kg.)
0,19
Package dimensions
11x11x11
Producer code
2276504
Energy efficiency class - old classification
A++
Color
wielokolorowy
Thread type
other
Type
surface-mounted ceiling
Brand
Candellux
Informacja o producencie
Producent / Podmiot odpowiedzalny Candellux Lighting Sp. z o.o. ul. 1 Maja 132 05-200 Wołomin Polska Kontakt E-mail: [email protected] Telefon: +221010097




