Applique LED 5W CYNTHIA 91-60808 CHROME
91-60808
Description
Une combinaison magistrale d'une base en métal avec un abat-jour en plastique. Par souci du bien de l'utilisateur, la LED économique est dissimulée sous un abat-jour en acrylique, qui empêche de regarder directement la source lumineuse, éliminant ainsi le risque de lésions oculaires. Possibilité de régler l'angle d'inclinaison de l'abat-jour verticalement et horizontalement.
Paramètres
Kolor
srebrny
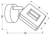
Wysokość (cm)
10
Głębokość (cm)
12
Średnica (cm)
9
Waga (kg.)
0,2
Wymiar opakowania
10x12x8
Ilość potrzebnych żarówek x Rodzaj żarówki
led
Napięcie zasilania
230V/ 50Hz
Led zintegrowany
Tak
Strumień świetlny (Lm)
325
Ilość źródeł światła
1
Kolekcja
Cynthia
Rodzaj gwintu
Zintegrowane źródło LED
Kod producenta
91-60808
Informacja o producencie
Producent / Podmiot odpowiedzalny Candellux Lighting Sp. z o.o. ul. 1 Maja 132 05-200 Wołomin Polska Kontakt E-mail: [email protected] Telefon: +221010097
Materiał
Metal
tworzywo sztuczne






